Ксения Миронова
Редактор раздела
Проектирование кровли — ответственный этап, где любая ошибка в выборе материала, расчете уклона или конструкции «пирога» грозит серьезными проблемами при сдаче объекта. Как спроектировать надежную кровлю по СП 17.13330.2017 и избежать замечаний экспертизы? В статье собраны ответы экспертов на самые частые вопросы проектировщиков: от дренажа и ограждений до узлов примыкания и выбора утеплителя.
Прочтите этот материал, чтобы избежать предписаний и остановки строительства, принимать верные решения по сложным объектам — от электрощитовых до зданий с десятком собственников.
Ключевые аспекты проектирования кровли: отвечают эксперты
Мы собрали «боли» проектировщиков и попросили экспертов системы «Помощник проектировщика» дать развернутые ответы на основе актуальных нормативных документов.
1. Дренаж на кровле подземных паркингов
2. Эксплуатируемая кровля в жилых домах
3. Противообледенительные системы
4. Кровля из профлиста: ключевые узлы
5. Выходы и ограждения на кровле
6. Конструкция неэксплуатируемой кровли
7.Технология устройства кровли из профлиста с керамзитовым утеплителем
1. Дренаж на кровле подземных паркингов
Вопрос. Нужен ли дренаж на кровле подземного паркинга, если в «пироге» присутствуют грунтовые воды?
Ответ эксперта. Согласно п. 5.39 СП 113.13330.2023, такие крыши часто выполняются как эксплуатируемые кровли или озелененные. Требования к конструкции кровли этих крыш, включая дренаж и водоотведение, детально регламентированы в СП 17.13330.2017 (раздел 5.3 и Приложение Г). Физически такая кровля является эксплуатируемой, и организация эффективного водостока в ней обязательна.
Приложение Г. Кровли из рулонных и мастичных материалов

Конструктивные решения эксплуатируемых, инверсионных и озелененных кровель
Эксперт системы «Помощник проектировщика» Бондаренко Владимир Иванович
Отвод воды с кровли — часть общей системы. Убедитесь, что ваш проект ливневой канализации соответствует актуальным нормам.
2. Эксплуатируемая кровля в жилых домах
Вопрос. Можно ли запроектировать эксплуатируемую кровлю для прогулок жителей в 12-этажном доме?
Ответ эксперта. Нормами это прямо не запрещено. П. 6.1.1 СП 54.13330.2022 предписывает проектировать кровли жилых зданий согласно СП 17.13330.
Прямого запрета в нормах нет. Размещение площадок для отдыха на кровле разрешено п. 4.23 СП 54.13330.2022 при соблюдении ряда условий:
• Соблюдение требований СП 17.13330 для эксплуатируемых кровель.
• Устройство надежных ограждений кровли.
• Контроль доступа и шумозащитные мероприятия.
• Соблюдение нормативных расстояний от окон до площадок по СП 42.13330.
Нужно учитывать: п. 5.3 СП 17.133330.2017, а также иные требования СП 54.13330.2022.
Эксперт системы «Помощник проектировщика» Плетцер Алина Станиславовна
3. Противообледенительные системы
Вопрос. Нужна ли система противообледенения водостоков для двухэтажного частного дома?
Ответ эксперта. Да, как правило, нужна. П. 9.13 СП 17.13330.2017 обязывает предусматривать такие системы для предотвращения образования сосулек. Исключение — здания высотой менее 5 метров при безопасной ориентации ската. Стандартный двухэтажный дом превышает эту высоту, поэтому установка системы противообледенения водостоков на кровле является обязательным требованием.
Дополнительно стоит изучить: РМД 31-09-2010.
Эксперт — Бондаренко Владимир Иванович

РМД 31-09-2010 Санкт-Петербург «Рекомендации по применению противообледенительных устройств с нагревательными кабелями на кровлях с наружными и внутренними водостоками»
4. Кровля из профлиста: ключевые узлы
Вопрос. Скатная крыша из профлиста с организованным водостоком (настенный желоб), на крыше — две ендовы из оцинкованного металла. Какой должна быть ширина ендовы? Как должны быть соединены картины в ендове? Каким должен быть узел соединения профлиста и ендовы: внахлест или фальц? Каковы нормативные требования к устройству ендов, желобов и их соединений при монтаже кровли из профлиста?
Ответ эксперта:
• Ширина основания ендовы. Согласно п. 6.4.1.2 СП 17.13330.2017, основание под разжелобок (ендову) должно быть сплошным деревянным настилом шириной 700 мм. (Смотреть обоснование.)
• Соединение картин. Элементы желоба (ендовы) соединяются внахлест, величина которого должна быть не менее 150 мм (п. 6.4.4.9 СП 17.13330.2017).

Устройство кровли из профлиста. Соединение картин в ендове. Нахлест элементов желоба должен быть не менее 150 мм
• Высота желоба. В настоящее время в нормативных документах высота желоба ендовы не нормируется.
• Нормативная база. Прямых отдельных норм для профлиста нет. Необходимо руководствоваться общими положениями СП 17.13330.2017, СТО НОСТРОЙ 2.13.81-2012 и техническими инструкциями производителей.

Устройство кровли из профлиста

Заполните заявку, чтобы получить типовые технологические карты «Устройство кровли из профнастила по деревянной обрешетке»,
«Устройство стропильной системы крыши из деревянных элементов», «Монтаж сборной крыши из железобетонных стропил с деревянной обрешеткой»
5. Выходы и ограждения на кровле
Вопрос. Допускается ли выход на кровлю не с лестничной клетки в здании класса Ф2.2?
Ответ эксперта. Да. Выход на кровлю непосредственно с лестничной клетки не является единственным вариантом. Согласно п. 7.2 СП 4.13130.2013, выход на кровлю может быть обеспечен не только непосредственно с лестничной клетки, но и через чердак, по лестницам 3-го типа или по наружным пожарным лестницам. Выход на чердак при этом предусматривается с лестничной клетки.
Вопрос. Достаточно ли оградить только свесы на двускатной кровле склада?
Ответ эксперта. Нет, недостаточно. П. 4.8 СП 17.13330.2017 требует предусматривать ограждения по всему периметру кровли. Высота ограждений устанавливается в соответствии с СП 54.13330, СП 56.13330 и СП 118.13330. При этом ограждение не должно пересекать выход на кровлю с лестничных площадок (п. 4.9 ГОСТ Р 53254-2009).
Эксперт системы «Помощник проектировщика» Демьянов Алексей Анатольевич

Актуализированная редакция СНиП II-26-76. Документ применяется для целей технического регламента.
При применении документа следует учитывать редакцию, указанную в Перечне, а также дату, с которой или до которой документ применяется
Чтобы все строительные процедуры, включая монтаж ограждений, не стали поводом для проверки, важно держаться в рамках действующего законодательства. О том, какие нарушения теперь под прицелом, читайте в разборе ФЗ № 161.
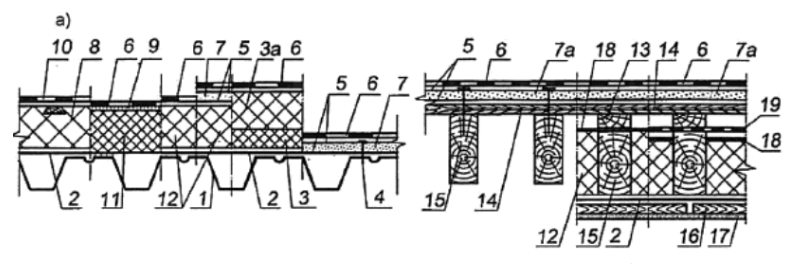
6. Конструкция неэксплуатируемой кровли
Вопрос. Корректна ли конструкция «пирога», где на плиту перекрытия уложен уклонообразующий слой, а на него — утеплитель? Это допустимый состав «пирога» кровли?

Ответ эксперта. Да, такая схема в целом допустима. Она соответствует общей концепции неэксплуатируемых кровель, приведенной в Приложении Г к СП 17.13330.2017. Наличие разуклонки из керамзита, хотя это и не показано в стандартных вариантах прямо, не является нарушением принципиального подхода к конструкции.
Конструктивные решения неэксплуатируемых кровель

Неэксплуатируемые кровли с несущими волнистыми листами, металлическими листовыми профилями и деревянными стропилами

Неэксплуатируемые кровли с монолитными или сборными несущими железобетонными плитами
Эксперт системы «Помощник проектировщика» Бондаренко Владимир Иванович
7. Технология устройства кровли из профлиста с керамзитовым утеплителем
Вопрос. Каков состав «пирога» и технология монтажа кровли из профлиста с утеплителем из керамзита для отапливаемого промздания?
Ответ эксперта:
• Технология монтажа профлиста детально описана в МДС 12-33.2007 (раздел 7) и СП 17.13330.2017 (раздел 6). Она включает правила раскладки листов, величины нахлестов,
крепления, устройства обрешетки и доборных элементов.
• Применение керамзита в качестве засыпного утеплителя регламентируется ГОСТ 32497-2013. Расчет требуемой толщины слоя керамзита для обеспечения
теплозащиты выполняется в соответствии с методиками СП 23-101-2004 исходя из климатической зоны расположения здания.

Эксперт системы «Помощник проектировщика» Демьянов Алексей Анатольевич
Термины
• УСТРОЙСТВО КРЫШИ
Выполнение работ по монтажу несущих и/или ограждающих конструкций крыши, в том числе кровли, включающих в себя все сопутствующие работы, необходимые для удовлетворения функциональных требований к крыше.
• УКЛОН КРОВЛИ
Отношение падения участка кровли к его длине, выраженное относительной величиной в процентах (%); угол между линией наибольшего ската кровли и ее проекцией на горизонтальную плоскость в градусах (°) (ГОСТ 26992-2016).
• ВОРОТНИК КРОВЕЛЬНЫЙ
Заготовка из кровельной стали с отбортованным отверстием в центре для пропуска через кровлю стояков, укладываемая на основание кровли и служащая для предупреждения затекания воды под покрытия.
• КРОВЕЛЬНАЯ КАРТИНА
Заготовка из металлических листов, в т. ч. рулонных, с отогнутыми боковыми и поперечными кромками для их соединения (СП 17.13330.2017).
• ЭКСПЛУАТИРУЕМАЯ КРОВЛЯ
Специально оборудованная защитным слоем кровля, предназначенная для использования — например, в качестве зоны для отдыха, размещения спортивных площадок, автостоянок, автомобильных дорог, транспорта над подземными паркингами и т. п. — и предусмотренная для пребывания людей, не связанных с периодическим обслуживанием инженерных систем здания (СП 17.13330.2017). / Специально оборудованная защитным слоем (рабочим настилом) кровля, рассчитанная на пребывание на ней людей, размещение оборудования, транспорта и т. п. (ГОСТ Р 56026-2014).
• «Пирог» кровли.
Состав и последовательность слоев зависят от типа кровли (эксплуатируемая, неэксплуатируемая, инверсионная). (Смотрите ответы 1 и 6.)
• Монтаж кровли из профлиста.
Включает правила раскладки листов, величины нахлестов, крепления и устройства обрешетки. (Смотрите ответ 4.)
• Узел кровли (ендовы, примыкания).
Ключевые элементы, от правильного исполнения которых зависит герметичность. (Смотрите нормативы в ответе 4.)
• Устройство кровли.
Комплекс работ, регламентируемый СП 17.13330.2017. Включает создание «пирога», монтаж покрытия и доборных элементов.

Найдите точное определение любого строительного термина. Наш словарь использует только проверенные источники:
государственные стандарты, своды правил и авторитетные справочники.
Перейдите по ссылке рядом с термином, чтобы изучить оригинальный документ. Воспользуйтесь алфавитным указателем для удобной навигации
Правильное проектирование кровли базируется на верной интерпретации актуальных нормативных требований. Использование профессиональных инструментов, таких как «Помощник проектировщика», позволяет сосредоточиться на проектировании, переложив рутину поиска и проверки документов на интеллектуальную систему.
«Помощник проектировщика»: надежный инструмент для работы с нормативами
Проектирование кровли включает постоянную работу с огромным массивом нормативов: СП, ГОСТ, СНиП. Система «Помощник проектировщика» решает ключевые задачи, экономя ваше время и минимизируя риски:
• Все нормы в одном месте. Мгновенный доступ к актуальным редакциям СП 17.13330, СП 54.13330 и сотням других необходимых документов.
• Автоматический контроль изменений. Система сама отслеживает все обновления и уведомляет вас, чтобы вы всегда работали с действующими требованиями.
• Экспертная поддержка. На сложные вопросы, подобные разобранным выше, вы можете получить официальные разъяснения от наших экспертов со ссылками на нормативную базу.
• Быстрая проверка. Легко проверяйте, какие документы, упомянутые в вашем проекте, уже устарели.
Например, система автоматически уведомит вас о таких важных изменениях, как новые правила подготовки рабочей документации по Письму Минстроя № 18128-ОГ/08 или о вступлении в силу ПП РФ № 827, который меняет требования к оформлению документов для госэкспертизы.
Система «Помощник проектировщика» превращает работу с нормативкой из хаотичного поиска в быстрый, прозрачный и безопасный процесс.
